人造子宫重大进展
新生儿的孕育是件不易事,其中的酸甜苦辣只有经历过才了解。从受精卵到子宫着床、形成胚胎、分化出器官,再到内脏功能发育、成形出生,一个新生儿诞生周期约为9个月。说起来不过弹指一挥间,但对孕妈们来说却是漫漫长路。
#1 人造子宫的意义
孕育一个小生命最重要的一环就是子宫。受精卵需要在子宫内不断生长直到出生的,所以没有子宫也就谈不上生育了。如果子宫受损或者结构与功能出现问题,即使是体外受精方式也无法孕育新生命。
据统计,在接受不孕治疗的女性中,大约 6% 患有子宫功能障碍。世界卫生组织(WHO)预测不孕不育症将被列入 21 世纪人类三大疾病之一,仅次于肿瘤和心脑血管疾病。在我国,不孕不育的人口比例超过了4000万,还在逐年增加。
此外,据世界卫生组织统计,全球的早产儿平均占所有新生儿的1/10,在早产儿中,每年又有约110万新生儿们由于发育不充分而无法存活下去。研究表明,不到23周的早产儿生存的可能性几乎为零,虽然24周的存活率为55%,但是对于23周的宝宝们来说,存活率只有23%。
为了让子宫受损的女性实现孕育生命的愿望,为了给早产儿带来生机,科学家们正在努力研发人造子宫技术。
#2 人造子宫想法的提出
用人造子宫来代替人类生育最早是由在英国出生的印度裔进化生物学家、遗传学家哈登(J.B.S. Haldane)在1924年提出的。当时,他预测,到 2074 年,70% 左右的婴儿将由 “体外孕育、诞生”。
1932年《美丽新世界》中赫胥黎同样构想了这样一个世界:胚胎在试管中受精后,通过化学方法分入不同的社会-生物阶层,比如艾普西隆从焚烧后的人体遗骸中采集磷,然后,它们再在“孵化场”里培养至出生。
1999年,专注于生殖研究的生物学家罗杰・戈斯登(Roger Gosden)在《设计婴儿》(Designing Babies)一书中把子宫比作 “智能孵化器”。
#3 人造子宫的雏形
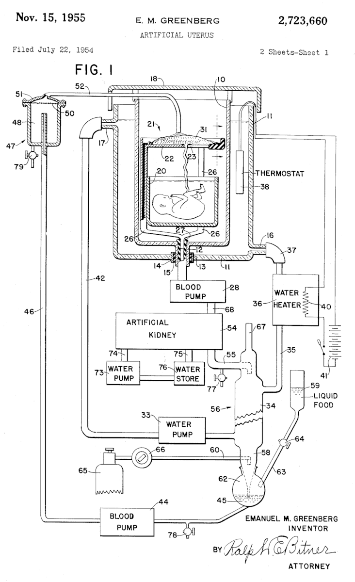
1954 年,伊曼纽尔·格林伯格(Emanuel Greenberg)等人制造出了首个人造子宫雏形。这个人造子宫包括一个装有羊水的胎儿罐、脐带装置、血泵、人工肾。

1969年,法国科学家最先利用人造子宫孕育小羊的胎儿,虽然小羊仅仅在人造子宫里面生存了两天,但这是第一次胎儿在人造子宫可以存活的案例。
1992年,东京大学将正常发育4个月大的小羊胎儿放到装有人工羊水的橡胶子宫中,成功诞下了小羊。但由于镇静剂等的副作用,羊宝宝无法自己呼吸和站立。
2002年,美国康奈尔大学制成了人造子宫,首次在人造子宫中植入胚胎并实现了着床。但是由于政策原因,胚胎植入人造子宫6天后不得不停止。
#4 人造子宫的重大进展
# 2017年——美国
2017年4月,美国费城儿童医院团队研发的人造子宫系统首次通过了动物试验。

研究人员将这套人造子宫装置称之为 “生物袋”,它的设计初衷是模拟一个未成熟即被摘除的胚胎所需要的子宫环境。在这一人工环境中,胚胎从一团粉红色的、形似外星人的东西,逐渐长成一只会呼吸、会吞咽的动物。

小羊各项指标均正常,刷新了胚胎的体外生存时间记录。
# 2018年——荷兰
在2018年10月的荷兰设计周上,荷兰埃因霍温理工大学和荷兰Máxima医疗中心首次展示了其研发的人造子宫模型。

到了2019年,该研究团队获得了来自欧盟“地平线2020计划”拨出的290万欧元(约合人民币2320万元),以在5年内建造一个可运行的人造子宫原型,并在之后投入临床使用。
荷兰埃因霍温理工大学教授、荷兰Máxima医疗中心产科专家Guid Oei说:“我们的人造子宫不仅是个塑料袋或塑料框。它更像自然子宫,具备孕育人类胎儿的所有条件。”

Guid Oei介绍,在24周出生的早产婴儿有一半的概率会死亡,就算是幸存者也极有可能会遭受终身慢性疾病的困扰,例如脑损伤、呼吸系统疾病以及听觉视觉疾病。“如果我们能够将24周的婴儿在人工子宫中的发育延长至28周,死亡风险就会降至15%。”
“人造子宫将会改变生育的游戏规则。”
# 2020年——美国
2020年6 月,美国维克森林再生医学研究所(WFIRM)安东尼・阿塔拉( Anthony Atala)领衔的研究团队在 Nature Biotechnology 上发表了最新研究成果。研究指出,他们通过提取兔子宫结构的细胞,培养出了支持正常生殖功能的天然子宫结构,并证明该装置能够实现胚胎受精着床、胎儿发育和出生。

安东尼・阿塔拉说:“我们希望这种技术能够取代子宫移植手术,让患有子宫功能性障碍的女性有机会孕育后代。为了实现这一长期目标,目前我们正在扩大临床前研究,以证明该项技术的安全性和长期有效性。”
# 2021年——中国
今年1月份,我国郑州大学附属第一医院,第一个“人造子宫”胎羊体外培育成功,标志着我国在人工孕育技术方面取得了新突破。
